Modul Sungai

Desain Sabo

Alat bantu perencanaan sabodam untuk mendukung pemilihan tipe sabo, pengendalian sedimen, input data teknis sesuai tipe, desain awal, stabilitas, quantity, RAB, dan laporan teknis berdasarkan pendekatan SNI 2851:2021.

Pengendalian Sedimen Sungai

Apa itu Sabo / Sabodam?

Sabo atau sabodam adalah bangunan pengendali sedimen yang dibangun pada alur sungai, terutama pada sungai dengan kemiringan relatif curam, suplai sedimen besar, potensi aliran debris, atau risiko gerusan dan kerusakan bangunan di hilir.

Fungsi utama sabodam bukan hanya menahan sedimen, tetapi juga mengatur pergerakan material sungai, mengurangi energi aliran, menstabilkan dasar sungai, serta melindungi kawasan, jembatan, bendung, intake, saluran, dan infrastruktur lain di bagian hilir.

Dalam perencanaan teknis, tipe sabodam perlu dipilih berdasarkan karakteristik DAS, morfologi sungai, debit banjir rencana, volume sedimen, ukuran material, potensi kayu hanyut, kondisi fondasi, ruang tampungan, serta kemudahan operasi dan pemeliharaan.

Kapan Sabodam Dibutuhkan?

  • Sungai membawa sedimen, batu, lumpur, atau material kasar dalam jumlah besar.
  • Terdapat potensi aliran debris, banjir bandang, atau lahar.
  • Terjadi sedimentasi berat yang mengganggu bangunan atau kawasan di hilir.
  • Dasar sungai mengalami degradasi atau gerusan yang membahayakan fondasi bangunan.
  • Diperlukan pengendalian energi aliran dan perlindungan terhadap infrastruktur hilir.
  • Dibutuhkan sistem pengendalian sedimen bertahap pada sungai curam atau daerah hulu DAS.
Catatan: Dalam modul ini, istilah sabo/sabodam digunakan untuk bangunan pengendali sedimen sungai. Rekomendasi tipe yang diberikan bersifat awal dan perlu dilanjutkan dengan input data hidrologi, sedimen, geometri sungai, geoteknik, dan pemeriksaan stabilitas.

Alur Kerja Desain Sabo

Pengembangan submodul Sabo dibuat ringan di awal. Pengguna cukup memasukkan informasi pekerjaan, lalu menjawab pertanyaan teknis satu per satu untuk memperoleh rekomendasi awal tipe sabodam. Setelah tipe terpilih, data teknis lanjutan baru ditampilkan sesuai kebutuhan desain.

Buat Analisa Sabodam
1

Informasi Pekerjaan

Nama pekerjaan, nama sungai, lokasi, jenis kegiatan, dan catatan awal.

2

Wizard Pemilihan Tipe

Pertanyaan tampil satu per satu, dilengkapi penjelasan istilah teknis.

3

Rekomendasi Tipe

Sistem menampilkan rekomendasi utama, alternatif, tingkat keyakinan, alasan teknis, dan data yang perlu dilengkapi.

4

Input Data Teknis

Data hidrologi, sedimen, geometri, fondasi, dan dimensi sesuai tipe terpilih.

5

Cek Stabilitas

Stabilitas harus memenuhi sebelum quantity dapat digenerate.

6

Quantity, RAB & Laporan

Hasil desain aman dikembangkan menjadi volume, biaya, dan laporan teknis.

Struktur Desain Mengacu SNI 2851:2021

Modul Sabo disusun mengikuti struktur desain dalam SNI 2851:2021, mulai dari persyaratan, kebutuhan data, pradesain hidrolik, desain hidrolik, desain struktur, hingga pemeriksaan stabilitas.

1

Persyaratan

Fungsi sabodam, kelengkapan bangunan, tata letak, bentuk, dimensi, dan gaya-gaya yang bekerja.

2

Kebutuhan Data

Peta, hidrologi, angkutan sedimen, geoteknik, geometri sungai, bangunan hulu-hilir, morfologi, dan bahan sabodam.

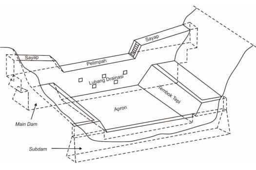
3

Pradesain Hidrolik

Lokasi, sumbu, debit desain, debit debris, bentang, pelimpah, tubuh dam utama, subdam, apron, dan bangunan pelengkap.

4

Desain Hidrolik

Penyempurnaan pradesain melalui uji model hidrolik bila diperlukan, atau pradesain menjadi desain hidrolik bila uji model tidak dilakukan.

5

Desain Struktur

Penentuan gaya-gaya yang bekerja, pemeriksaan dam utama, tembok tepi, sayap lindung, apron, dan elemen pelengkap.

6

Stabilitas Aman

Quantity dan RAB hanya dilanjutkan setelah hasil pemeriksaan stabilitas memenuhi.

Tipe Sabodam dalam Modul

Mengacu pada SNI 2851:2021, submodul ini difokuskan pada desain sabodam tipe tertutup dan tipe terbuka. Komponen seperti pelimpah, sayap lindung, subdam, apron, tembok tepi, lubang alir, dan slit diperlakukan sebagai bagian dari kelengkapan desain.

Tipe Tertutup

Sabodam Tipe Tertutup

Sabodam dengan tubuh dam berbentuk tertutup dan dilengkapi lubang alir untuk meloloskan air agar tidak ikut tertahan oleh tubuh dam.

Sabodam Tipe Tertutup
Tipe Terbuka

Sabodam Tipe Terbuka

Sabodam dengan tubuh dam berbentuk terbuka, digunakan pada kondisi aliran debris yang didominasi sedimen berdiameter rerata sangat besar.

Sabodam Tipe Terbuka

Acuan Teknis Submodul Sabo

Submodul Sabo dikembangkan dengan mengacu pada standar dan pendekatan teknis yang relevan untuk desain sabodam, analisis hidrologi dan hidraulika sungai, debit banjir rencana, pengendalian sedimen, serta pemeriksaan geoteknik.

Acuan teknis akan ditampilkan lebih rinci pada halaman perhitungan sesuai tahapan desain.

  • SNI 2851:2021

    Desain sabodam.

    Sabo
  • SNI 1724:2015

    Analisis hidrologi, hidraulik, dan kriteria desain bangunan di sungai.

    Sungai
  • SNI 2415:2026

    Tata cara perhitungan debit banjir rencana.

    Hidrologi
  • SNI 1726:2019

    Tata cara perencanaan ketahanan gempa untuk struktur bangunan gedung dan nongedung.

    Geoteknik
Peringatan teknis: Hasil rekomendasi dan perhitungan pada submodul ini merupakan alat bantu desain awal. Untuk pekerjaan detail design, hasil tetap harus diverifikasi dengan data topografi, hidrologi, hidraulika, geoteknik, morfologi sungai, data sedimen, kondisi lapangan, serta pertimbangan tenaga ahli.

Mulai Analisa Sabodam

Mulai dari input informasi pekerjaan, lanjutkan ke wizard pemilihan tipe sabodam, kemudian lengkapi data teknis sesuai tipe yang direkomendasikan.